These Glands are for use with electrical equipment in potentially explosive areas, specially in chemical and petro-chemical industries. These Glands are produced according to 94/9/EC, EN 50014 & EN 50019 and are approved by Ex.

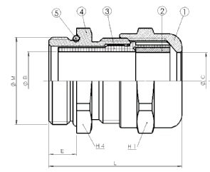
| Material: | 1, 4 Nickel-plated brass |
| Seal: | 2 Neoprene |
| Insert | 3 Polyamide 6 |
| O-Ring: | 5 Nitrile |
| Thread: | M |
| Temperature range: | -40°C / +100°C |
| Protection class: | IP68/ 66 |
| Applications:: | • measuring and control engineering• plant installations• machine- and apparatus engineering• for hazardous locations |
| Type of Protection: | Ex e |
| Confomity with standarts: | EN 60079-0, 60079-7, 61241-0, 61241-1 |
| Device group: | II |
| Category: | 2 and 3 |
| Atmosphere: | G/ D |
| Zone: | 1, 2, 21, 22 |
| Thread | Cable range(mm) | E(mm) | H1(mm) | H4(mm) | L(mm) |
| M12X1.5 | 4.5-6.5 | 5.0 | 14.0 | 14.0 | 25 |
| M16X1.5 | 5.0-9.5 | 5.0 | 17.0 | 17.0 | 28 |
| M20X1.5 | 8.0-13.0 | 6.0 | 22.0 | 22.0 | 32 |
| M25X1.5 | 9.0-16 | 7.0 | 27.0 | 27.0 | 35 |
| M32X1.5 | 12.0-21.0 | 8.0 | 34.0 | 34.0 | 38 |
| M40X1.5 | 16.0-27.0 | 8.0 | 42.0 | 42.0 | 41 |
| M50X1.5 | 23.0-35.0 | 9.0 | 55.0 | 55.0 | 46 |
| M63X1.5 | 36.0-48.0 | 10.0 | 65.0 | 65.0 | 54 |
Recommend Product
Explosion proof Cable Gland These Glands are for use with electrical equipment in potentially explosive areas, specially in chemical and petro-chemical industries. These Glands are produced according to 94/9/EC, EN 50014 & EN 50019 and are approved by ZELM Ex. |
EMC Cable Gland Material: Nickel plated brassWhat does EMC mean? EMC stands for Electromagnetic compatibility- thus the degree of the influence of feathers or radiations designated who of an installation, equipment or an other electrical or electronic plant goes out. |
Plastic Cable Gland Material: PVDF, Polyamide, NylonColor: light grey, silver grey, black Threads: PG, Metric, NPT IP68 CE, SGS |
Screw Plug Plastic Plug Brass Cable Gland Plug, Plastic Plug |
These Glands are for use with electrical equipment in potentially explosive areas, specially in chemical and petro-chemical industries. These Glands are produced according to 94/9/EC, EN 50014 & EN 50019 and are approved by ZELM Ex.
Material: Nickel plated brass
Material: PVDF, Polyamide, Nylon
Plastic Plug